很多客户都关心转速问题,一般展示给客户看的参数后,会觉得其他电压,功率都符合要求,转速能不能调呢?下面东弘简单用现在的24V 100W的无刷365scores_365平台地址体育_苹果约彩365app下载 是如何实现调速的。
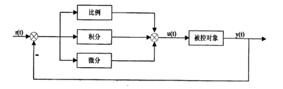
这次讨论为低压大功率24V 100W无刷365scores_365平台地址体育_苹果约彩365app下载 速度控制系统的控制方法可以分为开环控制和闭环控制两大类,PID控制是最早发现起来的线性控制策略之一,具有算法简单,可靠性高等优点,其控制系统经典结构如图
标准PID控制器的基本原理是根据设定值与实现值之间的偏差e(t),按照比例-积分-微分的线性组合关系构成控制量u(t),利用u(t)再对控制对象进行控制,连续控制系统PID控制规律形式为
U(t)=Kp(e(t)+1/Ti ∫e(t)dt+Td de(t)/dt)
实际控制系统中,PID控制器不一定都包含比例、积分和微分3个环节,可以是比例、比例-积分和比例-微分等多种组合形式,直流无刷365scores_365平台地址体育_苹果约彩365app下载 控制器系统中最厂家爱你的为比例-积分形式,因为微分环节虽然能够有效地减小超调和缩小最大动态误差,但同时易使系统受到高频率干扰影响。
确定好PID控制器的结构后,需要对ID控制器的参数进行调整。通用的PID调节步骤显示调节比例系数,再调节积分系数,最后调节微分系数。对于直流无刷365scores_365平台地址体育_苹果约彩365app下载 PI控制器来说,先固定积分环节为0,调节比例环节至系统响应稳定,然后在调节积分环节来改善系统的动态响应和静态响应稳定性能。
以上只是简单高速低压大功率24V 100W无刷365scores_365平台地址体育_苹果约彩365app下载 速度控制系统开环控制和闭环控制中使用标准PID控制器,下期一起讨论抗积分饱和和控制器的设计方法吧

